律师助理跟案
律师助理是每一位律师从业之路上的必经阶段,尤其涉及刑事案件,工作中更应增强风险意识和保密意识。从委托人来访,到具体案件的承办,新手如何跟办刑事案件各个阶段工作,才能让案件当事人和律师都感到满意,请看本文。
初入律所,一般会从律师助理做起,纵使有天纵之才,此阶段仍是必须的,并非能力问题使然,实实操与理论隔阂。规矩乃人定,人定之规矩,必然千差万别,细分细缕,非概要原则所能囊括。
是以,分水岭处必茫茫然不知所措。特别是涉及到刑事案件时,律师助理都会对刑案风险担忧,不知怎么做,不知下手处。结合办理刑案及指导实习律师的经验,笔者以下总结,虽仍系概要,但尽力指出方向,若须知其中明细,仍需结合自身实践,条分缕析。

委托人来访阶段的工作
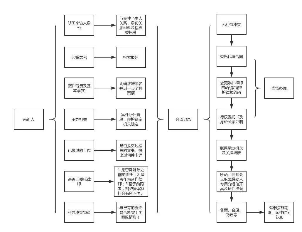
律师助理在陪同律师接待来访者时,应具有风险及保密意识,首先核对来访者身份信息,明确来访者的身份及与案件当事人的关系。此做法因由,一是防止案件信息泄露,给后期执业带来风险;二是为后期签订委托代理合同及授权手续做好必要的信息收集准备。
其次,根据律师与来访者的谈话,制作会谈记录,记录需包括:参会人员;时间;地点;参会人员陈述。会谈记录最好是能够有来访者的亲笔签名。
此环节中,来访者的陈述是重中之重:
1.其言语中已包括了委托想达成的目的;
2.对案件背景及事实的描述(涉及何种罪名);
3.包含其已做过的工作;
4.包含是否已委托了律师(是否需撤销或变更委托);
5.案件所处的阶段,管辖机关(联系对象);
6.是否与本所代理的案件有利益冲突等等。
记录可以围绕以上点进行,同时也可以在会谈之前列出项目,提醒自己并对律师作出适当提示。
最后,根据律师的要求,将材料扫描保存,并可询问委托合同签订的事宜。
明确律师权利来源
会谈过后,就是委托的事情了,助理需协助完成委托手续。此之前,需明确律所、委托人、律师三者的关系,下图示之:

(一)委托人与律所:签订委托代理合同,不得作出风险代理的约定,协助完成委托代理合同的拟定,交由律师审核。
(二)委托人与律师:出具授权材料,包括授权委托书、身份材料,如果委托人非案件当事人,还需要提供委托人与当事人的关系证明文件。根据来访阶段掌握的信息,需要理清两点,一是身份关系;二是是否已委托辩护律师。
如果已委托辩护律师,还需委托人提供变更委托的申请(通知),或撤销原委托关系的材料。当然,因为法律规定可以委托两名辩护律师,如果委托人之前只委托了一名辩护律师,同时不想撤销委托,助理需记录此律师的信息,以便今后合作联系需要。至于授权委托书的份数,可以准备3~5份。
(三)律所与律师:开具辩护函件,函件是到案件承办机关备案的文件之一,很多地方需先辩护律师备案才能展开辩护工作。
明确涉嫌罪名并形成初步检索报告
根据来访阶段掌握的案件背景及事实,首先应锁定涉嫌的罪名。
罪名的锁定可以通过多途径,根据案件所处的不同阶段有拘留通知书、逮捕通知书、起诉意见书、起诉书、判决书。
还可以通过与承办案件的机关单位联系,询问当事人涉嫌的罪名。当然,很多地方的机关(看守所)是需要律师先行备案才会告知。
明确涉嫌罪名之后,助理需完成两个工作:
一是通过大数据检索,对罪名进行法律法规检索;二是根据检索结果形成初步的检索报告。
至于当事人犯罪情节的考量,可以先行对自首、立功等减轻、从轻处罚的规定进行总结备用。待日后会见当事人并阅卷之后,可根据具体情形搜索具体的案例,形成案例检索报告。
关于强制措施的问题
根据会谈记录,初步判断案件处于哪一阶段,并了解案件当事人所受到的强制措施。先行了解并整理强制措施种类与规定,如果是在押的,还需要确定关押场所,并找到关押场所的联系方式,以备会见时预约需要。
关于强制措施的问题,一般是律师进行处理,但助理需将涉及到的材料扫描整理备案,并做工作记录。
会见之前的准备
关于会见,助理在会见之前,需协助完成:
(一)看守所联系预约,明确看守所的作息时间;
(二)对于三类特殊案件(危害国家安全、恐怖活动犯罪、特别重大贿赂犯罪),是否需要经过批准及批准手续如何进行,具体可以咨询承办案件单位;
(三)律师会见在押犯罪嫌疑人专用介绍信的开具及授权材料、身份关系证明材料、执业证复印件、实习证复印件准备;
(四)会见提问问题的罗列、笔录纸、印台、文具等物品准备;
(五)看守所地址查明,可以联系看守所或网络检索明确。特别提醒:如果委托人不是案件的当事人,还需要将授权委托书带给当事人签字捺手印。
阅卷之前的准备
自案件移送审查起诉之日起,辩护律师可以查阅、摘抄、复制与案件有关的诉讼文书和证据材料。
助理应及时取得办案机关的联系方式以备律师联系需要。当然,也可以在律师的指导下自行联系检察院或法院,咨询相关事宜及预约阅卷时间。
检察院一般是案件管理中心办理,如果是之前有过备案,还可以上《人民检察院案件信息公开网》进行预约,但信息可能会有延迟。法院则有专门的立案庭可以查询案件。
至于刑事法律文书材料的准备,与备案材料一致。但是要注意的是,现在检察院一般都是电子化,有些地方会提供光盘,有些地方需自己带光盘拷贝,所以助理也需备好光盘。法院的话,电子化正在推进,一般需拍照,所以相关的器材提前准备也是必须的。
刑事案件期间问题
律师助理除了对案件进行具体的承办,助理做辅助工作之外,还需要牢记刑事案件的期间、期日、刑事拘留、逮捕、取保候审、监视居住等强制措施的期限,移送审查起诉、审判的期限、退回补充侦查的期限等等。
做好案件时间节点的记录工作,及时与办案机关沟通,跟进案件。掌握最新的案件进展,方便律师辩护工作的开展以及与案件当事人家属沟通。
注意时间节点是案件进程的重要一环,清晰准确计算期间、期日是助理最基本的辅助工作。
材料备份与保管
跟案这一阶段,助理需要对案件材料进行整理,做好案件材料不混乱,律师需要的文件能够立刻找出。
此外,还需对案件材料进行扫描保存,达到纸质材料遗失也可以恢复。
当然,材料保管的另外一个重要点是案件材料及案件信息的保密,不能随意透露。律所的归档流程化管理,也需要对平时材料的完备、保管提出要求。
总之,初次跟办刑事案件,助理需牢牢把握以上几点,实践中遇到无法把握的事情,多询问律师,多上网查找资料。

北京元都律师事务所
北京市海淀区四季青路7号院1号楼102元都律所
电话:010-8843 7185
279792843@qq.com



